R技术支持RECENT NEWS
联系我们CONTACT US

+86 0000 96877

地址:湖北省武汉市硚口区营房村厂房片区
电话:027-83493421
Q Q:3582905149(建议添加微信)
联系电话:18986010416(微信同号)
联系邮箱:3582905149@qq.com
查看更多
R技术支持RECENT NEWS
您当前的位置:主页 > 技术支持 >

威乐配件丨威乐售后丨立式管道泵的日常操作规

更新时间:2021-09-12 23:40:06  作者:未知

立式管道泵启动前准备

1、清除泵周围杂物,紧固各部紧固螺丝。


2、盘泵5~6圈,应转动灵活,无杂音等现象。


3、润滑油或润滑脂,油脂合格,油位应在1/2—3/4之间,润滑脂应按规定加好。


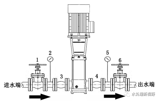
4、检查各种仪表,检查电压表、电流表工作状况,检查泵进出口压力表。


5、检查电气设备,接地保护应完好,三相保险应完好。


6、打开泵的进出口阀,使泵内充满液体,同时打开泵前过滤罐放空阀放气,直至见液然后关闭放空阀。

 
图片

立式管道泵启泵及运行检查
1、启动电机,确认电机转向与规定方向一致。


2、按启动按钮使电流从zui高值下降,泵压上升稳定后,缓慢开启出口阀。


3、控制阀门调好泵的流量和泵出口压力。


4、仔细观察泵压,电流的变化情况,确认电机工作正常。


5、检查泵机油液位是否在规定范围内。


立式管道泵停泵
1、按停止按钮停泵。


2、关闭泵进出口阀。


3、若长时间停泵,则需排尽泵内残液,以免锈蚀或冻裂泵体。


4、电机或泵轴承冒烟应立即停泵。


5、电流超过额定值应立即停泵,以免烧毁电机。


6、机组发生强烈震动或泵有异响应立即停泵。

 


顶部

地址:武汉市硚口区营房村凌云社区厂房片区    电话:18986010416    Q Q:3582905149
版权所有:Copyright © 2017 www.wiloshop.cn 技术支持:吴汉艺 ICP备案编号:鄂ICP备20006650-2号
X

截屏,微信识别二维码

微信号:18986010416

(点击微信号复制,添加好友)

  打开微信